Hardware ⇒ DB-04-Txx
документация обновлена 01.01.2024
Описание
Сенсорный экран термостата предназначен для управления термостатами радиаторов отопления и теплого пола квартиры или дома в системе Bus77 Pro.
Функции
-
возможность подключения внешнего датчика температуры;
-
режим работы “по расписанию”. При помощи иконки “календаря”, можно включить работу термостата по расписанию, при этом сохранится возможность выбрать текущую температуру вручную;
-
режим работы “ручной”. Иконка “руки” выключает расписание, термостат будет поддерживать указанную температуру;
-
режим работы “защита”. Кнопка “выключения” запускает режим защиты, в котором термостат не включится, пока температура в помещении не достигнет критически низкого значения (по умолчанию 10оС)

Технические характеристики
| Код продукта | 'Без фаски ' | 'Алюминий ' | DB-04-T01 (Белый) | DB-04-T04 (Графит) | DB-04-T05 (Черный) | DB-04-T06 (Шоко) | DB-04-T07 (Бежевый) | DB-04-T08 (Сатинирование гориз.) | DB-04-T09 (Сатинирование перекр.) | DB-04-T10 (Античный) | 'Латунь ' | DB-04-T17 (Сатинирование гориз.) | DB-04-T18 (Двойное сатинирование с патинированием) | DB-04-T19 (Сатинирование с античным патинированием) | 'Медь ' | DB-04-T14 (Сатинирование гориз.) | 'С фаской ' | 'Алюминий ' | DB-04-1-T01 (Белый) | DB-04-1-T04 (Графит) | DB-04-1-T05 (Черный) | DB-04-1-T06 (Шоко) | 'Латунь ' | DB-04-1-T07 (Белый) | DB-04-1-T08 (Графит) | DB-04-1-T09 (Черный) | DB-04-1-T10 (Шоко) | DB-04-1-T11 (Гидроабразив) | ||||||||||||
| Сенсоры | возможность подключения внешнего датчика температуры | |||||||||||||||||||||||||||||||||||||||
| Температурный диапазон | -20...+50 °С | |||||||||||||||||||||||||||||||||||||||
| Управление | 7 сенсорных кнопок (из них 5 с индикацией режимов) | |||||||||||||||||||||||||||||||||||||||
| Размеры в мм. | 86 x 86 x 30 | |||||||||||||||||||||||||||||||||||||||
| Материал корпуса | алюминий, медь, латунь | |||||||||||||||||||||||||||||||||||||||
| Питание | Номинальное: 24 В постоянного тока Максимальное: 30 В постоянного тока | |||||||||||||||||||||||||||||||||||||||
| Потребляемый ток | до 25 мА | |||||||||||||||||||||||||||||||||||||||
| Интерфейс | CAN (Bus77) | |||||||||||||||||||||||||||||||||||||||
| Класс защиты | IP20 | |||||||||||||||||||||||||||||||||||||||
| Монтаж | в подрозетник внутренним размером: диаметр 66 х глубина 45 мм |
Варианты применения

Габаритные размеры

Разъемы на корпусе

Назначение контактов
Х1:
- питание
- +24V
- CAN шина
- «H» - линия CAN-High
- «L» - линия CAN-Low
- «G» - линия CAN-Gnd
X2:
- подключение внешнего датчика температуры
- G
- Term
Особенности
- Отображает фактическую температуру, измеренную внешним ДТ
- Отображает уставку температуры на термостате радиатора или теплого пола
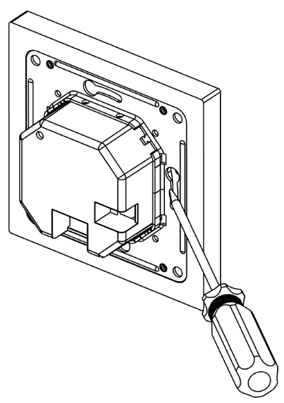
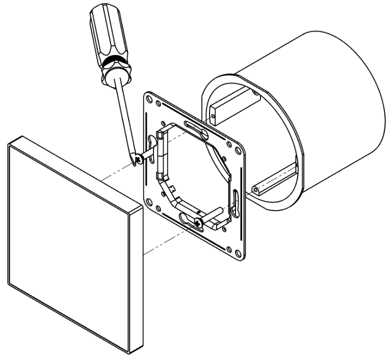
Монтаж и подключение


- Сенсорный экран термостата состоит из корпуса устройства и металлического суппорта, которые соединяются между собой при помощи магнитов. Перед монтажом выключателя необходимо отсоединить суппорт от корпуса, прикрутить его шурупами\саморезами в подрозетник внутренним диаметром 66 мм и глубиной не менее 45 мм. Подключить кабель согласно маркировки на корпусе и установить устройство на суппорт.
- Для подключения сенсорного экрана термостата к CAN-шине и к блоку питания рекомендуется применять провод UTP CAT5 с диаметром жил не менее 0,52 мм, волновым сопротивлением 100 Ом и омическим сопротивлением не более 9,4 Ом на 100 метров.
- Монтаж и техническое обслуживание устройства должно производиться только подготовленными специалистами с соблюдением мер безопасности.
- Все работы по подключению устройства должны производиться только при отключенном напряжении.
Текущий ремонт
При обнаружении неисправности в ходе эксплуатации, необходимо немедленно отключить устройство от питающей сети и вызвать обслуживающий персонал. Ремонт устройства в течение гарантийного срока и сервисное обслуживание производит дилер изготовителя.
Хранение, транспортировка и срок службы
Изделия должны храниться в упаковке при температуре от -40○С до +85○С и относительной влажности воздуха 95% при +25○С в отапливаемых и естественно вентилируемых складах, в хранилищах с кондиционированием воздуха, при отсутствии в нем агрессивных примесей, токопроводящей пыли, паров кислот и щелочей, а также газов, вызывающих коррозию и разрушающих изоляцию. При хранении резкие колебания температуры (более 3○С/мин) и влажности (более 5%/мин) воздуха не допускаются.
Транспортирование изделий должно осуществляться в упакованном виде в контейнерах, закрытых железнодорожных вагонах, отапливаемых герметизированных отсеках самолетов и трюмов, а также автомобильным транспортом с защитой от осадков на любые расстояния при температуре от -40○С до +85○С, при относительной влажности воздуха до 95% при +25○С. При транспортировании изделий должна быть предусмотрена защита от попадания пыли и атмосферных осадков.
Гарантия изготовителя
Гарантийный срок эксплуатации - 24 месяца (2 года) со дня продажи. При отсутствии отметки о продаже - с даты изготовления, в пределах гарантийного срока хранения 36 месяцев.
Гарантии изготовителя не распространяются в случаях:
-
нарушения правил транспортирования, хранения, монтажа и эксплуатации, установленных в технических условиях и эксплуатационной документации;
-
наличия механических повреждений и перепаек, не предусмотренных эксплуатационной документацией;
-
монтажа и эксплуатации устройств не обученным и неаттестованным персоналом;
-
использования изделий не по назначению.
Средний срок службы изделия - не менее 5 лет.
Комплектность
| Разъемы | 2 шт |
| Упаковка (1шт.) |
Возможные неисправности
| rowspan=3| Изделие не включается (нет индикации) | Нет питания | Подключить питание, проверить блок питания |
| Недостаточное напряжение питания | Проверить напряжение, должно быть не ниже 15В | |
| Изделие вышло из строя | Отправить в гарантийный ремонт | |
| rowspan=3| Изделие не может быть обнаружено в ПО | Шина не подключена | Подключить шину |
| Шина закорочена | Проверить шину на наличие КЗ, если есть - устранить | |
| Нет терминирующего резистора на шине | Установить резистор 120 Ом на концах шины | |
| rowspan=2| Изделие не выполняет ожидаемый программный функционал | Нет прошивки | Загрузить прошивку |
| Загружена другая прошивка | Загрузить нужную прошивку |
Утилизация
По окончании срока службы изделие подлежит утилизации в соответствии с законодательством страны (места эксплуатации).
Безопасность
ВНИМАНИЕ: монтаж устройства осуществляется при выключенном питании устройства.
ПРЕДОСТЕРЕЖЕНИЕ: не допускается использовать устройство в системах, ответственных за безопасность людей, животных, материальных ценностей, а также в системах, отказ которых приведёт к нарушению безопасности.
Лицензионные соглашения
Программное обеспечение установлено на устройстве его изготовителем и поставляется вместе с ним в комплекте. Программное обеспечение отдельно не продается.
По всем вопросам обращаться в службу технической поддержки: e-mail: support@iridi.com, тел. +7 (499) 322-73-29 (доб.1).
DB-04-Txx.docx
Дата публикации: 01.04.2025
Список изменений в прошивках
DB-04-T
Профиль 1: Сенсорный экран термостата (1)
| 11.03.25 | 2.0.1156280125 | - Релиз прошивки |