Hardware ⇒ DB-04-02xx
Сценарный выключатель двухклавишный (4-кнопочный) с индикацией
документация обновлена 01.01.2024
Описание
Сценарный выключатель предназначен для запуска сценариев управления элементами электрооборудования квартиры или дома в системе Bus77 Pro:
- световыми группами;
- приводами штор;
- регулировки температуры воздуха в помещении.
Функции
- настройка назначения кнопок (сценарии, прямое управление);
- измерение температуры воздуха в помещении встроенным датчиком;
- 4 кнопки с подсветкой режимов (включено/выключено)

Варианты прошивок
v.1.0 - прошивка позволяет запускать сценарии, управлять световыми группами и шторами, а также измерять температуру окружающего воздуха. Сценарии назначаются в приложении.
Прошивка сценарного выключателя предустановлена на этапе производства устройства.
Пример настройки сценария: https://doc.iridi.com/SWDL/dev-iridi/Bus77_Home_Config/#сценарии.
Поддерживается приложениями: i3 pro, bus77 Home, Bus77 Lite.
Поддержка с приложениями сторонних вендоров не тестируется и работоспособность не гарантируется.
Технические характеристики
| Код продукта | |'Без фаски ' | 'Алюминий ' | DB-04-0201 (Белый) | DB-04-0204 (Графит) | DB-04-0205 (Черный) | DB-04-0206 (Шоко) | DB-04-0207 (Бежевый) | DB-04-0208 (Сатинирование гориз.) | DB-04-0209 (Сатинирование перекр.) | DB-04-0210 (Античный) | 'Латунь ' | DB-04-0217 (Сатинирование гориз.) | DB-04-0218 (Двойное сатинирование с патинированием) | DB-04-0219 (Сатинирование с античным патинированием) | 'Медь ' | DB-04-0214 (Сатинирование гориз.) | 'С фаской ' | 'Алюминий ' | DB-04-1-0201 (Белый) | DB-04-1-0204 (Графит) | DB-04-1-0205 (Черный) | DB-04-1-0206 (Шоко) | 'Латунь ' | DB-04-1-0207 (Белый) | DB-04-1-0208 (Графит) | DB-04-1-0209 (Черный) | DB-04-1-0210 (Шоко) | DB-04-1-0211 (Гидроабразив) |
| Сенсоры | встроенный датчик температуры, возможность подключения внешнего датчика температуры | |||||||||||||||||||||||||||
| Температурный диапазон | -20...+50 °С | |||||||||||||||||||||||||||
| Управление | 4 кнопки с индикацией режимов | |||||||||||||||||||||||||||
| Размеры в мм.. | 86 x 86 x 29 | |||||||||||||||||||||||||||
| Материал корпуса | алюминий/латунь/медь | |||||||||||||||||||||||||||
| Питание | Номинальное: 24 В постоянного тока Максимальное: 30 В постоянного тока | |||||||||||||||||||||||||||
| Потребляемый ток | до 25 мА | |||||||||||||||||||||||||||
| Интерфейс | CAN (Bus77) | |||||||||||||||||||||||||||
| Класс защиты | IP20 | |||||||||||||||||||||||||||
| Монтаж | в подрозетник внутренним размером: диаметр 66 х глубина 45 мм |
Варианты применения:

Габаритные размеры

Разъем на корпусе

Назначение контактов:
Х1:
- питание
- +24V
- CAN шина
- «H» - линия CAN-High
- «L» - линия CAN-Low
- «Gnd» - линия CAN-Gnd
X2:
- подключение внешнего датчика температуры
- Gnd
- Term
Особенности
- Может использоваться в качестве сетевого датчика температуры для термостатов
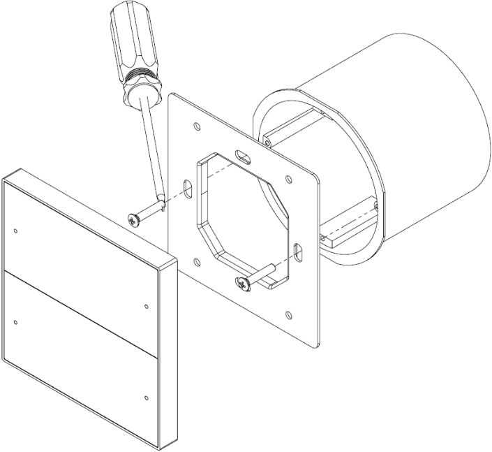
Монтаж и подключение


-
Сценарный выключатель состоит из блока выключателя с клавишами и металлического суппорта, которые соединяются между собой при помощи магнитов. Перед монтажом выключателя необходимо отсоединить суппорт от блока выключателя, прикрутить его шурупами\саморезами в подрозетник внутренним диаметром 66 мм и глубиной не менее 45 мм. Подключить кабель согласно маркировки на корпусе и установить выключатель на суппорт.
-
Для подключения сценарного выключателя к к CAN-шине и к блоку питания рекомендуется применять провод UTP CAT5 с диаметром жил не менее 0,52 мм и волновым сопротивлением 100 Ом и омическим сопротивлением не более 9,4 Ом на 100 метров.
-
Монтаж и техническое обслуживание изделия должно производиться только подготовленными специалистами с соблюдением мер безопасности.
-
Все работы по подключению изделия должны производиться только при отключенном напряжении.
Конструкцией предусмотрено два варианта монтажа сценарного выключателя:
Накладной монтаж. Предназначен при использовании в проекте прочих рамок толщиной 9,5мм.
Утопленный в стену монтаж с использованием закладной детали РЕУМ.469459.04.103. Предназначен при использовании в проекте прочих рамок толщиной 3,8мм.

Накладной монтаж (видимая часть рамки - 9,5мм)

Утопленный в стену монтаж (видимая часть рамки - 3,8мм)

Суппорт, установленный на закладную деталь
Подробнее о монтаже закладной детали смотрите в видеообзорах для гипсокартонных стен и для бетонных стен. ## Текущий ремонт
При обнаружении неисправности в ходе эксплуатации, необходимо немедленно отключить устройство от питающей сети и вызвать обслуживающий персонал. Ремонт устройства в течение гарантийного срока и сервисное обслуживание производит дилер изготовителя.
Хранение, транспортировка и срок службы
Изделия должны храниться в упаковке при температуре от -40○С до +85○С и относительной влажности воздуха 95% при +25○С в отапливаемых и естественно вентилируемых складах, в хранилищах с кондиционированием воздуха, при отсутствии в нем агрессивных примесей, токопроводящей пыли, паров кислот и щелочей, а также газов, вызывающих коррозию и разрушающих изоляцию. При хранении резкие колебания температуры (более 3○С/мин) и влажности (более 5%/мин) воздуха не допускаются.
Транспортирование изделий должно осуществляться в упакованном виде в контейнерах, закрытых железнодорожных вагонах, отапливаемых герметизированных отсеках самолетов и трюмов, а также автомобильным транспортом с защитой от осадков на любые расстояния при температуре от -40○С до +85○С, при относительной влажности воздуха до 95% при +25○С. При транспортировании изделий должна быть предусмотрена защита от попадания пыли и атмосферных осадков.
Гарантия изготовителя
Гарантийный срок эксплуатации - 24 месяца (2 года) со дня продажи. При отсутствии отметки о продаже - с даты изготовления, в пределах гарантийного срока хранения 36 месяцев.
Гарантии изготовителя не распространяются в случаях:
-
нарушения правил транспортирования, хранения, монтажа и эксплуатации, установленных в технических условиях и эксплуатационной документации;
-
наличия механических повреждений и перепаек, не предусмотренных эксплуатационной документацией;
-
монтажа и эксплуатации устройств не обученным и неаттестованным персоналом;
-
использования изделий не по назначению.
Средний срок службы изделия - не менее 5 лет.
Комплектность
- Сценарный выключатель DB-04-02xx - 1шт.
- Разъемы - 2 шт.
- Упаковка (1шт.)
Возможные неисправности
| Неисправность | Вероятная причина | Устранение неисправности |
| Изделие не включается (нет индикации) | Нет питания | Подключить питание, проверить блок питания |
| Недостаточное напряжение питания | Проверить напряжение, должно быть не ниже 15В | |
| Изделие вышло из строя | Отправить в гарантийный ремонт | |
| Изделие не может быть обнаружено в ПО | Шина не подключена | Подключить шину |
| Шина закорочена | Проверить шину на наличие КЗ, если есть - устранить | |
| Нет терминирующего резистора на шине | Установить резистор 120 Ом на концах шины | |
| Изделие не выполняет ожидаемый программный функционал | Нет прошивки | Загрузить прошивку |
| Загружена другая прошивка | Загрузить нужную прошивку |
Утилизация
По окончании срока службы изделие подлежит утилизации в соответствии с законодательством страны (места эксплуатации).
Безопасность
ВНИМАНИЕ: монтаж устройства осуществляется при выключенном питании устройства.
ПРЕДОСТЕРЕЖЕНИЕ: не допускается использовать устройство в системах, ответственных за безопасность людей, животных, материальных ценностей, а также в системах, отказ которых приведёт к нарушению безопасности.
Лицензионные соглашения
Программное обеспечение установлено на устройстве его изготовителем и поставляется вместе с ним в комплекте. Программное обеспечение отдельно не продается.
По всем вопросам обращаться в службу технической поддержки: e-mail: support@iridi.com, тел. +7 (499) 322-73-29 (доб.1). DB-04-02xx
Дата публикации: 01.12.2024
Список изменений в прошивках
DB-04-02
Профиль 1: Кнопка (4), Температура (2)
| Дата публикации | Версия прошивки | Изменения |
|---|---|---|
| 12.03.25 | 2.0.1657120325 | Релиз прошивки |
| 03.02.2026 | 3.0.1559210126 |
|