Hardware ⇒ DB-03-45-03xx
Сценарный выключатель серии Slim 6-кнопочный, модуль 45х45, Bus77
документация обновлена 01.01.2024
Описание
Сценарный выключатель предназначен для запуска сценариев управления элементами электрооборудования квартиры или дома:
- световыми группами;
- приводами штор;
- регулировки температуры воздуха в помещении.
Функции
- настройка назначения кнопок (сценарии, прямое управление);
- измерение температуры воздуха в помещении встроенным датчиком;
- возможность подключения внешнего датчика температуры;
- 4 кнопки

Варианты прошивок
v.2.0 - прошивка позволяет запускать сценарии, управлять световыми группами и шторами, а также измерять температуру окружающего воздуха. Сценарии назначаются в приложении.
Прошивка сценарного выключателя предустановлена на этапе производства устройства.
Пример настройки сценария: https://doc.iridi.com/SWDL/dev-iridi/Bus77_Home_Config/#сценарии.
Поддерживается приложениями: i3 pro, bus77 Home, Bus77 Lite.
Поддержка с приложениями сторонних вендоров не тестируется и работоспособность не гарантируется.
Технические характеристики
| Код продукта:DB-03-45-0101 DB-03-45-0104 DB-03-45-0105 DB-03-45-0106 DB-03-45-0107 DB-03-45-0111 DB-03-45-0112 DB-03-45-0113 DB-03-45-0115 DB-03-45-0120 DB-03-45-0121 | | Материал кнопки:алюминий алюминий алюминий алюминий алюминий алюминий алюминий алюминий медь латунь нерж. сталь | | Вид отделки:Белый Графит Черный Шоко Бежевый Анодир. черный Анодир. бронза Анодир. св. золото Патинированная Полированная | Полированная |
| Сенсоры | встроенный датчик температуры, внешний датчик температуры | ||
| Температурный диапазон | -20...+50 °С | ||
| Управление | 4 кнопки | ||
| Размеры мм. | 73,8 x 73,8 x 21,5 мм (без рамки) | ||
| Материал корпуса | металл, пластик | ||
| Питание | 24 В постоянного тока | ||
| Потребляемый ток | до 25 мА | ||
| Интерфейс | CAN (Bus77) | ||
| Класс защиты | IP20 | ||
| Монтаж | в стандартный подрозетник |
Варианты применения:

Габаритные размеры

Разъем на корпусе

X1:
- питание
-
- 24V
- CAN шина
- «GND» - линия CAN-GND
- «L» - линия CAN-Low
- «H» - линия CAN-High
Х2:
- подключение внешнего датчика температуры
-
- GND
-
- Term
Особенности
- Может использоваться в качестве сетевого датчика температуры для термостатов
Монтаж и подключение

-
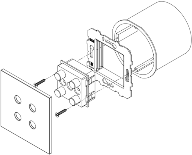
4-кнопочный сценарный выключатель состоит из блока выключателя с кнопками, декоративной рамки и металлического суппорта, которые соединяются между собой при помощи магнитов. Перед монтажом сценарного выключателя необходимо подключить клеммные колодки (датчика температуры, CAN-шины и питание) к разъемам на корпусе выключателя, суппорт с блоком выключателя прикрутить шурупами\саморезами в стандартный подрозетник 68 мм, установить декоративную рамку.
-
Для подключения сценарного выключателя к к CAN-шине и к блоку питания рекомендуется применять провод UTP CAT5 с диаметром жил не менее 0,52 мм и волновым сопротивлением 100 Ом и омическим сопротивлением не более 9,4 Ом на 100 метров.
-
Монтаж и техническое обслуживание изделия должно производиться только подготовленными специалистами с соблюдением мер безопасности.
-
Все работы по подключению изделия должны производиться только при отключенном напряжении.
Текущий ремонт
При обнаружении неисправности в ходе эксплуатации, необходимо немедленно отключить устройство от питающей сети и вызвать обслуживающий персонал. Ремонт устройства в течение гарантийного срока и сервисное обслуживание производит дилер изготовителя.
Хранение, транспортировка и срок службы
Изделия должны храниться в упаковке при температуре от -40○С до +85○С и относительной влажности воздуха 95% при +25○С в отапливаемых и естественно вентилируемых складах, в хранилищах с кондиционированием воздуха, при отсутствии в нем агрессивных примесей, токопроводящей пыли, паров кислот и щелочей, а также газов, вызывающих коррозию и разрушающих изоляцию. При хранении резкие колебания температуры (более 3○С/мин) и влажности (более 5%/мин) воздуха не допускаются.
Транспортирование изделий должно осуществляться в упакованном виде в контейнерах, закрытых железнодорожных вагонах, отапливаемых герметизированных отсеках самолетов и трюмов, а также автомобильным транспортом с защитой от осадков на любые расстояния при температуре от -40○С до +85○С, при относительной влажности воздуха до 95% при +25○С. При транспортировании изделий должна быть предусмотрена защита от попадания пыли и атмосферных осадков.
Гарантия изготовителя
Гарантийный срок эксплуатации - 24 месяца (2 года) со дня продажи. При отсутствии отметки о продаже - с даты изготовления, в пределах гарантийного срока хранения 36 месяцев.
Гарантии изготовителя не распространяются в случаях:
-
нарушения правил транспортирования, хранения, монтажа и эксплуатации, установленных в технических условиях и эксплуатационной документации;
-
наличия механических повреждений и перепаек, не предусмотренных эксплуатационной документацией;
-
монтажа и эксплуатации устройств не обученным и неаттестованным персоналом;
-
использования изделий не по назначению.
Средний срок службы изделия - не менее 5 лет.
Комплектность
-
Модуль сценарного выключатель с металлическим суппортом - 1 шт;
-
Декоративная рамка - 1 шт;
-
Упаковка - 1 шт;
-
Паспорт (по запросу) - 1 шт
Возможные неисправности
| Неисправность | Вероятная причина | Устранение неисправности |
| Изделие не включается (нет индикации) | Нет питания | Подключить питание, проверить блок питания |
| Недостаточное напряжение питания | Проверить напряжение, должно быть не ниже 15В | |
| Изделие вышло из строя | Отправить в гарантийный ремонт | |
| Изделие не может быть обнаружено в ПО | Шина не подключена | Подключить шину |
| Шина закорочена | Проверить шину на наличие КЗ, если есть - устранить | |
| Нет терминирующего резистора на шине | Установить резистор 120 Ом на концах шины | |
| Изделие не выполняет ожидаемый программный функционал | Нет прошивки | Загрузить прошивку |
| Загружена другая прошивка | Загрузить нужную прошивку |
Утилизация
По окончании срока службы изделие подлежит утилизации в соответствии с законодательством страны (места эксплуатации).
Безопасность
-
ВНИМАНИЕ: монтаж устройства осуществляется при выключенном питании устройства.
-
ПРЕДОСТЕРЕЖЕНИЕ: не допускается использовать устройство в системах, ответственных за безопасность людей, животных, материальных ценностей, а также в системах, отказ которых приведёт к нарушению безопасности.
Лицензионные соглашения
Программное обеспечение установлено на устройстве его изготовителем и поставляется вместе с ним в комплекте. Программное обеспечение отдельно не продается.
По всем вопросам обращаться в службу технической поддержки: e-mail: support@iridi.com, тел. +7 (499) 322-73-29 (доб.1).
DB-03-45-03.docx
Дата публикации: 01.06.2024
Список изменений в прошивках
Профиль 1: Кнопка (4), Температура (2)
| 16.10.24 | 2.0.1342161024 | Релиз прошивки. |
| 02.12.2025 | 3.0.1428261125 | Улучшена стабильность запуска устройства при перебоях в питании;
Устранена неработоспособность устройства при кратковременных перебоях питания или колебаний напряжения; Датчик температуры: исправлено поведение при котором настройки дублировались во все датчики. |
| 21.01.2026 | 3.0.1620120126 | Улучшена стабильность работы датчика температуры: исправлен спам при подключении. |